某研究团队基于医疗领域的大量文本与结构化数据,构建了一个面向医疗知识图谱的问答系统。该系统面向医学科研人员与临床医生,支持实体识别、关系抽取、知识检索与答案生成等功能。由于系统设计较为复杂,包含数据预处理、自然语言处理、知识图谱构建、后端服务、前端服务、机器学习与深度学习等多个模块,系统采用“自底向上”的方式构建总体系结构。该系统主要包括:爬取医疗相关数据并建立知识图谱、提供实体识别和关系抽取服务、实现多种类型问答接口(如实体知识问答、药物关系问答、医学关系查询等),并通过后端模块进行统一处理,生成答案。
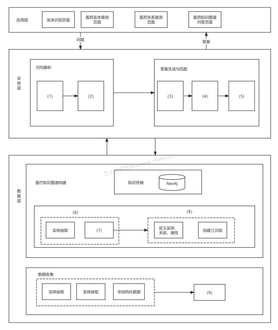
根据题干描述的内容,将下列选项填入图中合适位置
(a)知识检索(b)模板翻译(c)数据清洗(d)命名实体识别(e)知识表示(f)模板匹配(g)问题分类(h)知识抽取 (i)关系抽取

(1)g(2)d(3)a(4)f(5)b(6)h(7)i(8)e(9)c

整个系统是一个典型的医疗问答系统+知识图谱构建架构,从下到上分为:
数据层:包括原始数据收集、清洗、抽取实体和知识。构建结构化知识图谱,存储于 Neo4j。
业务层:接收用户问题后进行解析(问题分类、实体识别),然后生成结构化查询(模板翻译、匹配)并从图数据库检索答案。
应用层:提供不同功能页面,面向用户展示,如“实体说明页面”、“关系查询页面”等。
(1) g. 问题分类 问句处理的第一步通常是对问题进行分类,如判断是查实体、查关系等。
(2) d. 命名实体识别 在用户问题中识别出疾病、药物等实体,是问句理解中的关键步骤。
(3) a. 知识检索 匹配后执行查询,进入图数据库中检索答案。
(4) f. 模板匹配 将翻译后的模板与已有模板库匹配,确定合适的查询方式。
(5) b. 模板翻译 将结构化的语义解析结果转换为查询模板,比如转换成 Cypher 查询语句。
(6) h. 知识抽取 从原始数据中提取结构化信息,为知识图谱构建做准备。
(7) i. 关系抽取 从非结构化或半结构化的文本中,自动识别并提取 实体之间存在的语义关系。。
(8) e. 知识表示 对抽取的知识进行结构化表达,例如 RDF 三元组,定义实体、关系和属性。
(9) c. 数据清洗 对原始数据(尤其是非结构化数据)进行预处理,包括去噪、去重、格式规范等。