阅读以下关于软件架构设计与评估的叙述,在答题纸上回答问题1和问题2。
【说明】
某公司拟开发一套机器学习应用开发平台,支持用户使用浏览器在线进行基于机器学习的智能应用开发活动。
该平台的核心应用场景是用户通过拖拽算法组件灵活定义机器学习流程,采用自助方式进行智能应用设计、实现与部署,并可以开发新算法组件加入平台中。在需求分析与架构设计阶段,公司提出的需求和质量属性描述如下:
(a)平台用户分为算法工程师、软件工程师和管理员等三种角色,不同角色的功能界面有所不同;
(b)平台应该具备数据库保护措施,能够预防核心数据库被非授权用户访问;
(c)平台支持分布式部署,当主站点断电后,应在20秒内将请求重定向到备用站点;
(d)平台支持初学者和高级用户两种界面操作模式,用户可以根据自己的情况灵活选择合适的模式;
(e)平台主站点宕机后,需要在15秒内发现错误并启用备用系统;
(f)在正常负载情况下,机器学习流程从提交到开始执行,时间间隔不大于5秒;
(g)平台支持硬件扩容与升级,能够在3人•天内完成所有部署与测试工作;
(h)平台需要对用户的所有操作过程进行详细记录,便于审计工作;
(i)平台部署后,针对界面风格的修改需要在3人•天内完成;
(j)在正常负载情况下,平台应在0.5秒内对用户的界面操作请求进行响应;
(k)平台应该与目前国内外主流的机器学习应用开发平台的界面风格保持一致;
(l)平台提供机器学习算法的远程调试功能,支持算法工程师进行远程调试。
在对平台需求、质量属性描述和架构特性进行分析的基础上,公司的架构师给出了三种候选的架构设计方案,公司目前正在组织相关专家对平台架构进行评估。架构进行评估。
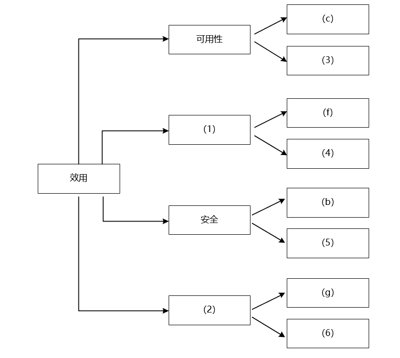
在架构评估过程中,质量属性效用树(utility tree)是对系统质量属性进行识别和优先级排序的重要工具。 请将合适的质量属性名称填入图1-1中(1)、(2)空白处,并从题干中的(a)-(l)中选择合适的质量属性描述,填入(3)-(6)空白处,完成该平台的效用树。

(1)性能
(2)可修改性
(3)(e)可用性
(4)(j)性能
(5)(h)安全性
(6)(i)可修改
质量效用树是一种在架构评估中广泛应用的工具,它的核心作用是将抽象的质量属性分解为具体的场景,并进一步细化为需求描述,以便于优先级排序和评估。
在软件体系结构中,常见的质量属性包括 性能、可用性、安全性和可修改性。
根据题干提供的需求:(e) 强调“主站点宕机后需要在 15 秒内发现错误并启用备用系统”,这是对 系统故障恢复时间 的要求,典型属于 可用性;(j) 强调“在正常负载情况下,平台应在 0.5 秒内对用户界面操作请求进行响应”,这是系统 响应时间 的要求,属于 性能;(h) 要求“对用户所有操作进行详细记录以便审计”,这是 安全性 的具体要求;(i) 要求“界面风格修改需要在 3 人·天内完成”,这是针对 系统修改代价与效率 的限定,属于 可修改性。
因此,质量效用树中 (1) 应为 性能,(2) 应为 可修改性。在下层分支中,填入对应的需求描述即可。